官方发布!广州房价最贵和低的10条街,有没有你家?!
扫描到手机,新闻随时看
扫一扫,用手机看文章
更加方便分享给朋友
春节已过去,这几天大家都陆陆续续开启工作模式了,买房、卖房的人也多了起来。这不,大家关心的房价数据来了,小编来重点归纳一下给大家吧!
上个月,广州市住房和城乡建设委员会就发布了关于《2017年12月广州市房地产市场运行情况的通报》,涵盖广州109个街道较新房价。
通报展示了12月广州各区网签均价,越秀区以59652元/平方米的数据排在了排名前列,天河白云紧随其后。

现在,就跟着小编一起来看看这一百多个街道/镇的房价情况吧。(备注:以下数据为官方网签数据,仅作参考~)
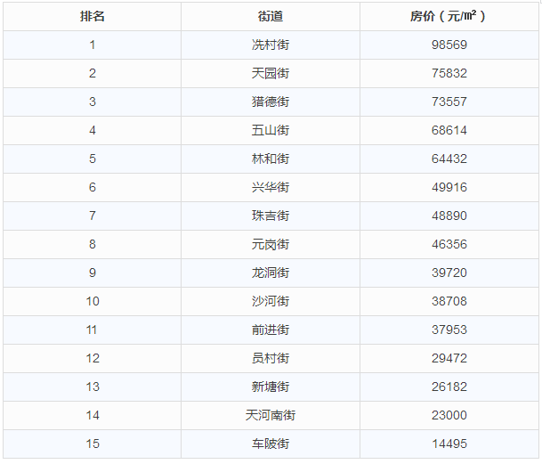
首先来看一下广州房价较高的前十街道/镇排名,如果你在这几条街道拥有房产,不用说了,你的朋友一定很多……
1
广州房价较高街道前十

天河区冼村街12月均价98569元/㎡,为广州网签均价较高街道,主要是因为该街道成交的16宗房源中,有13宗是汇悦台,该楼盘的成交价格比较高。
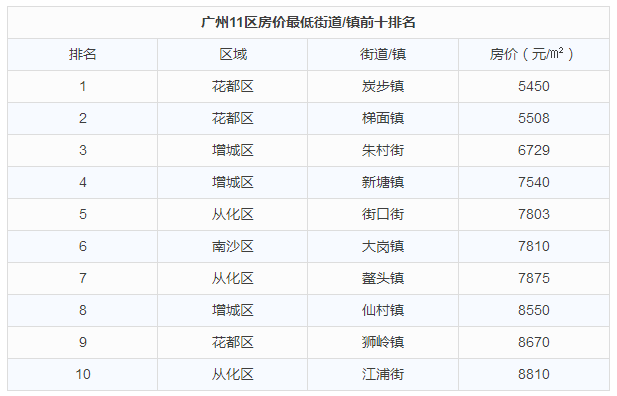
看完土豪们的房子,再来看看房价较低的十条街。
2
广州房价较低街道前十

花都区炭步镇均价5450元/㎡,是广州房价较便宜的镇,主要是由于该街道成交的3宗商品住宅中,有两宗来自颐和盛世花园,1宗来自好美华庭,这些楼盘成交价格比较低。
房价较高的是冼村街的98569元/㎡,而较低的是花都区炭步镇的5450元/㎡。这两者的差距高达相差9.3万/㎡!
围观完全市较高与较低的房价后,我们再来一览广州各区的具体街道/镇房价吧。
3
广州各区街道房价
天河区

越秀区

荔湾区

海珠区

白云区

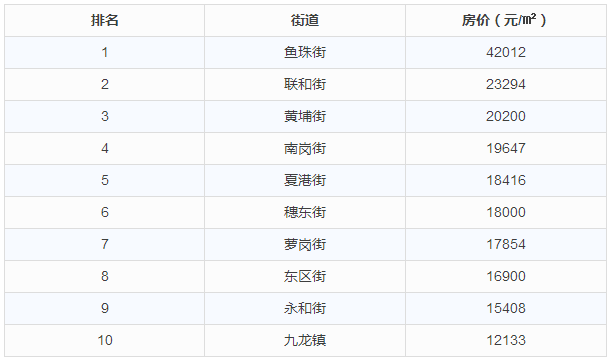
黄埔区

番禺区

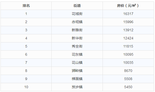
花都区

南沙区

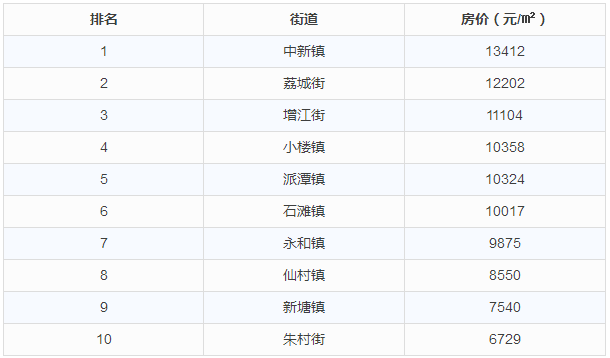
增城区

从化区

你住在广州哪个区哪条街?
声明:本文由入驻焦点开放平台的作者撰写,除焦点官方账号外,观点仅代表作者本人,不代表焦点立场。


